目录

查看公告详情

江阴市移动互联网应用程序审批与网络安全通报系统

全
  • 应用审核
    • 学校端操作
      • 申请应用
      • 查看申请详情
      • 下载申请表
    • 教育局端操作
      • 审核申请
      • 查看申请详情
      • 下载申请表
      • 删除申请
      • 批量设置审核时间
      • 回收站管理
      • 查看学校统计
      • 审核意见管理
      • 审核时间设置
      • 应用管理
  • 网络安全
    • 学校端
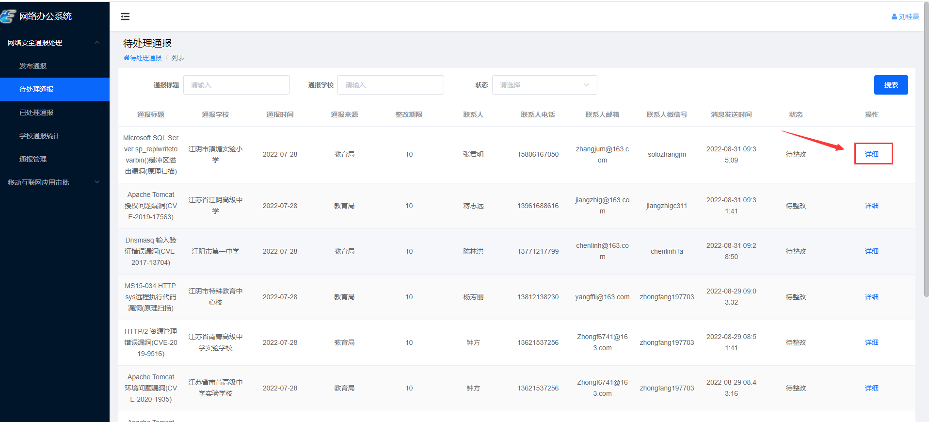
      • 处理通报
      • 查看通报详情
    • 教育局端
      • 发布通告
      • 审核通告
      • 查看公告详情
      • 撤销公告
      • 查看通报统计数据
  • 管理员
    • 设置角色权限与成员
本文档使用易文档进行构建
更新日志

    查看公告详情

    查看通报具体信息,以及下载查看通报文件





    上一篇 审核通告
    nextDoc 撤销公告
    本文档使用易文档编写, 更新时间: 2022-09-03 09:56
    文章导航
    请输入关键字进行搜索