麦穗开发文档
  • 商城前端
  • 商城后端
  • NFT前端
  • NFT后端
  • 参考网站
目录

二、业务流程

麦穗开发文档

全
  • 项目概述
  • 开发内容
  • 第三方接口
    • 聚推客API
    • 团油API
    • 短信API
    • 活体认证API
    • 支付接口API
  • 用户管理
    • 会员整合
  • 资产配置
    • 消费积分
    • 麦穗碎片
    • 大麦
    • 小麦
    • 贡献值
    • 资产互转
  • 商城活动
    • 抢购专场
    • 自营商城
    • 活动专区
  • 拉新收益
    • 后台设置
    • 推广机制
  • 其他机制
    • 订单导出
  • 平台搭建
    • 平台打包
  • 盲盒商城
    • 一、基础介绍
    • 二、业务流程
    • 三、前端布局
      • 0.首页展示
      • 1.盲盒主页
      • 2.仓库列表
      • 3.订单详情
    • 四、后台控制
      • 0.基础配置
      • 1.奖池配置
本文档使用易文档进行构建
更新日志

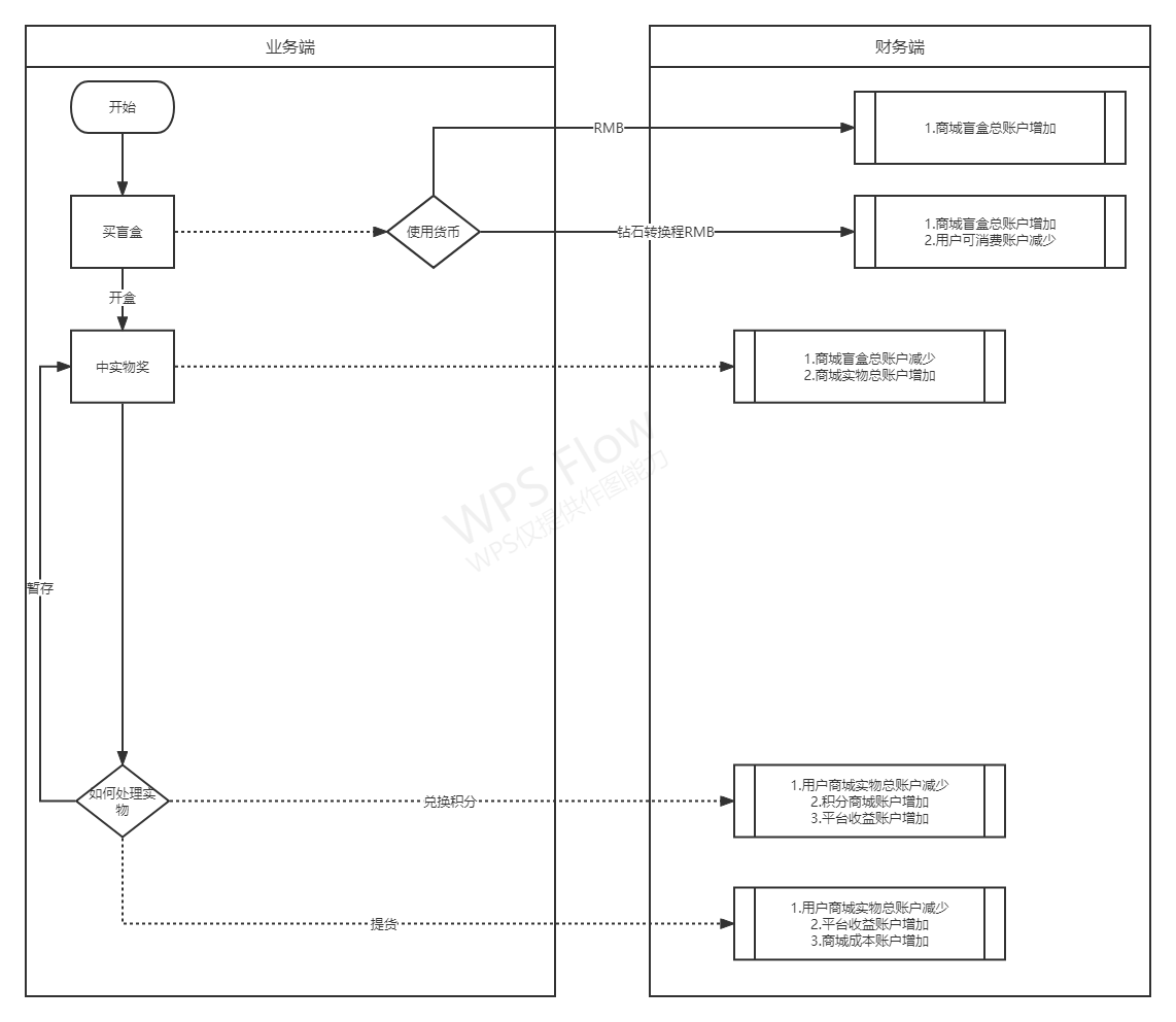
    二、业务流程

    盲盒主流程



    财务关系图


    上一篇 一、基础介绍
    nextDoc 0.首页展示
    本文档使用易文档编写, 更新时间: 2022-12-26 16:32
    文章导航
    请输入关键字进行搜索