机构课程管理
用于管理本机构的课程。
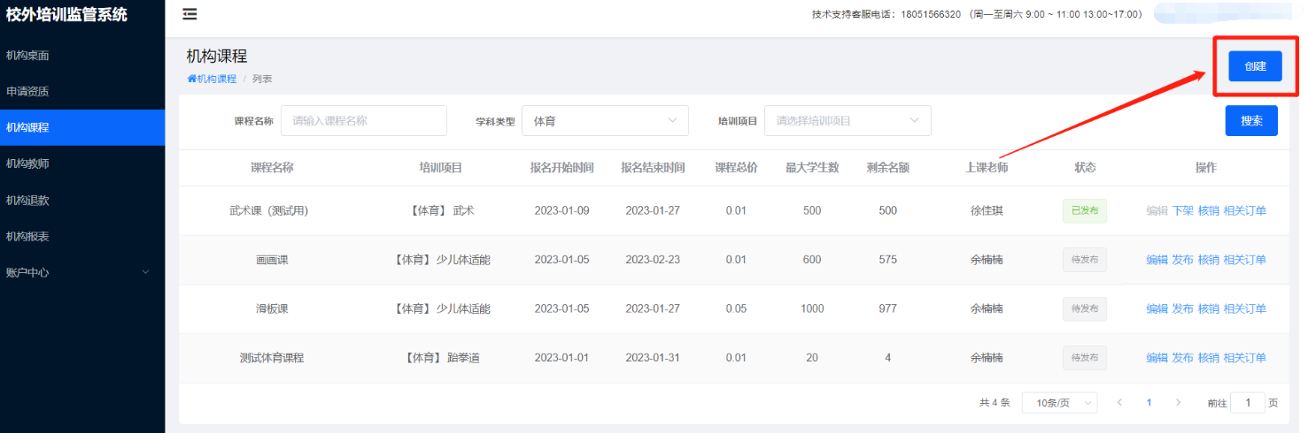
新增
依次点击 机构课程--创建,填入课程相关信息与资料。
注:课程总价=课时数*课时单价,为自动填写

注:
上课教师:在【机构教师】中创建的教师
学科类型:学科审批通过的才会显示

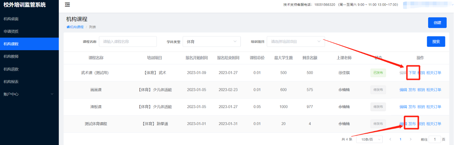
发布和下架
学科类型,培训项目,课时数,课时单价,课程总价,在家长付款后无法再做修改,请谨慎填写。
注:课程发布后,无法编辑;下架后可编辑

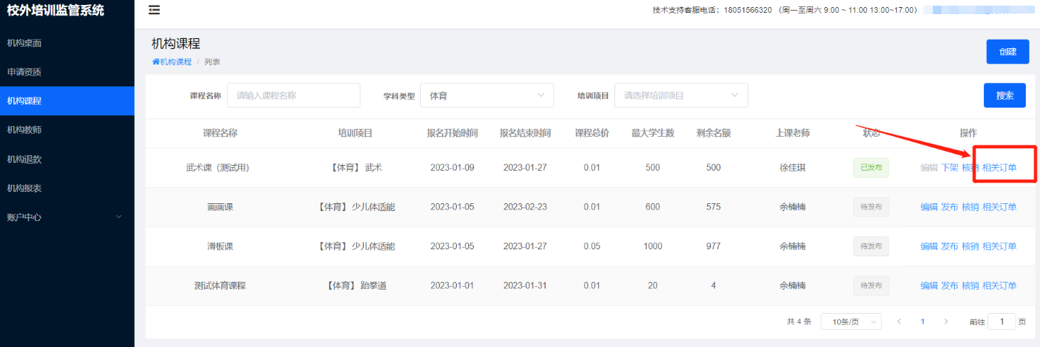
点击【相关订单】 查看该课程下的所有已付款订单。


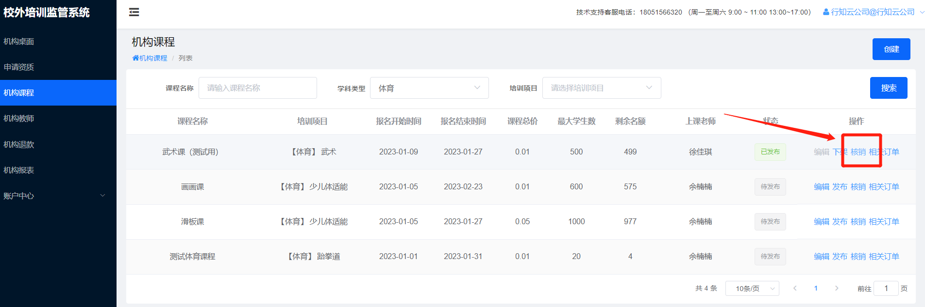
核销
对课程课时发起核销,并发送最江阴消息推送提醒家长。
依次点击 机构课程--核销 ,勾选要核销的学生,最江阴APP会推送核销的信息给家长。
注:最江阴APP每分钟会执行定时任务,查看是否有待发送的核销信息。

