目录

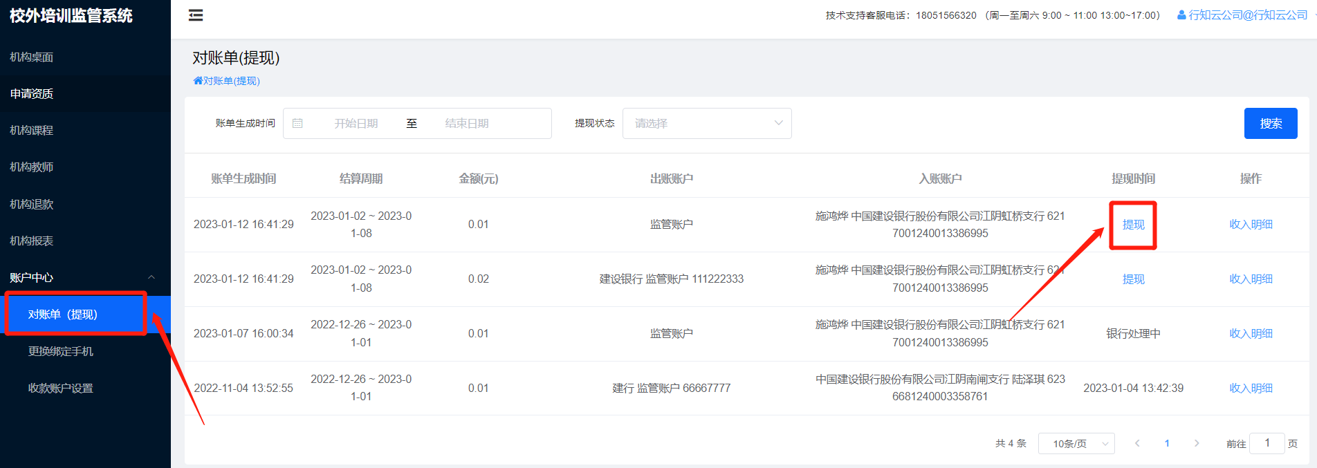
对账单(提现)

校外培训监管系统

全
  • 培训机构课程售卖子系统
    • 后台系统登陆
    • 后台管理系统配置角色成员
    • 培训机构
      • 机构老师管理
      • 机构课程管理
      • 机构提现
      • 机构退款管理
    • 学生家长
      • 课程信息查询
      • 学生信息
      • 支付功能
      • 订单查询
      • 课时核销
      • 申请退款
  • 资金监管子系统
    • 培训机构
      • 收款账户设置
      • 更换绑定手机
      • 对账单(提现)
      • 资金流转--提现
      • 资金流转--退款
      • 退款汇总
    • 平台
      • 监管银行设置
  • 银行资金对账清算子系统
    • 中国建设银行清算账户对账
    • 中国建设银行监管账户对账
    • 中国农业银行监管账户对账
    • 江阴农村商业银行监管账户对账
本文档使用易文档进行构建
更新日志

    对账单(提现)

    对账单(提现)

    发送验证码到绑定手机验证,验证成功,提交提现申请给监管银行,监管银行打款给机构。若监管账户金额不足,则提现失败,需等待1-3个工作日后再次发起提现。

    注:提现操作后,状态变为银行处理中,每周一结算可提的金额,等待监管银行打款给机构


    上一篇 更换绑定手机
    nextDoc 资金流转--提现
    本文档使用易文档编写, 更新时间: 2023-01-12 21:47
    文章导航
    请输入关键字进行搜索