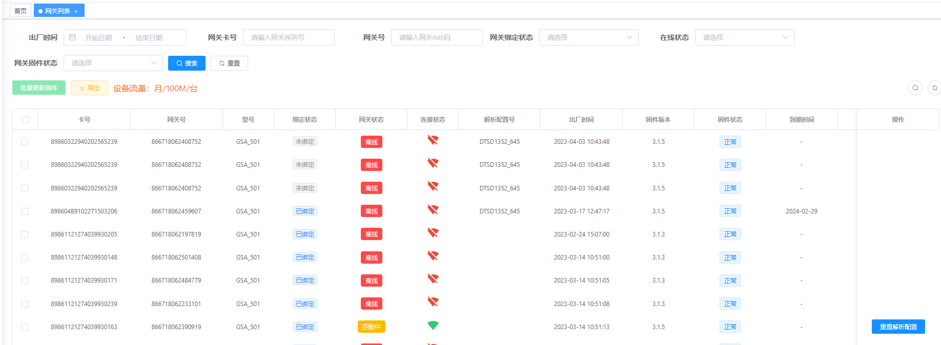
如何查看网关的状态?
进入后台,进入【设备管理】-【网关列表】,找到对应的网关)(可输入“网关号”过滤),即可查看网关相关信息:

关于网关的相关数据字段说明:
`采集数据`(根据网关使用的协议,采集上报的相关参数)
`网关状态`(网关的工作状态)
- 离线 (任何超过规定时间无法上报数据的场景)
- 正常 (网关正常上报并且能解析成功)
- 主板通信异常(网关内正使用的协议,无法通信)
- 无适配配置(网关拉取的协议无法与主板匹配, 休眠30s后继续再次轮询匹配)
- 匹配中(轮询通信协议中)
- 解析错误(网关上报数据且无法正确解析,可能是解析配置对不上或者采集数据不对)
`连接状态`(平台和网关的通信连接状态,3.1.0+版本以上网关才有这字段)
- 无网络
- 优
- 良
- 差
对于不是`无网络`连接状态的网关,可操作下发相关指令,如“重置解析配置”。